Exchange the CEC enclosure system backplane
Before you begin
CAUTION:
This assembly contains mechanical moving parts. Use care when
you service this assembly. (C025)
Use approved ESD procedures to prevent damage.
Attention:
- This procedure is not a stand-alone procedure. Customer disruption and damage to the hardware might occur when microcode and power boundaries are not in the proper conditions for this service action.
- If a serviceable event FRU repair directed you to this procedure, the microcode and power boundaries are already set.
- If a serviceable event FRU repair did not direct you to this procedure, see MAP1230 Replace a FRU without using a serviceable event.
Notes:
- All the cables and FRUs to be removed must be uniquely identified so they can be reinstalled correctly.
- If an installed earthquake resistance kit prevents you from accessing this FRU, refer to MAP1600.
Preparing the CEC enclosure to remove and replace the system backplane
Procedure
- Use a replacement part with a valid DS8000® part number to ensure it has the proper firmware, VPD, or configuration to ensure it is compatible with the DS8000 service procedures. Attempting to use a generic server FRU might fail and require next level of support to recover.
-
All parts being removed must be marked or identified so they can be installed into their
original locations.
Note: Failure to do this can extend the service duration and may require next level of support assistance.
- The management console keyboard can be moved between the operating and stowed position as needed to allow service clearance above the CEC enclosure.
-
Use the front and rear blue identify LEDs to determine the CEC enclosure to be repaired. Both
blue LEDs should be lit.
- CEC control panel blue identify LED
as shown
in Figure 1. - CEC enclosure rear blue identify LED
as shown
in Figure 2.
Note: If both the front and rear CEC enclosure identify LEDs are not lit, use the location code listed in the serviceable event FRU list. See MAP1245 Finding FRUs by using location codes.Figure 1. Control panel LEDs 
Figure 2. CEC enclosure rear LEDs
- CEC control panel blue identify LED
-
Verify that the CEC enclosure is in the power-off state. See Figure 3
- At the rear of the CEC enclosure, view all CEC enclosure power supply DC LEDs.
-
Are all DC (output) LEDs flashing?
- Yes, continue with the next step.
- No, do not continue with this FRU replacement. Go to MAP4841 CEC enclosure fails to power off during service processor repair (Models 961, 98x).
Figure 3. Location of the power supplies and LEDs (Model 982)
-
Attach the electrostatic discharge (ESD) wrist strap.
Attention:
- Attach an electrostatic discharge (ESD) wrist strap to an unpainted metal surface of your hardware to prevent the electrostatic discharge from damaging your hardware.
- When using an ESD wrist strap, follow all electrical safety procedures. An ESD wrist strap is used for static control. It does not increase or decrease your risk of receiving electric shock when using or working on electrical equipment.
- If you do not have an ESD wrist strap, just before removing the product from ESD packaging and installing or replacing hardware, touch an unpainted metal surface of the system for a minimum of 5 seconds.
-
Disconnect the power cords
from the
CEC with the DC (output) LEDs flashing. See Figure 4.
Notes:- Ensure the power cords are correctly labeled.
- The power supply LEDs might continue to flash for up to 20 seconds while internal power is discharged.
- The power cord is fastened to the system using the hook-and-loop fastener
. Unstrap
the fastener to allow the enclosure to be placed in the service position.
Figure 4. Removing the power cords (Models 982, 988) 
-
Observe the CEC enclosure control panel green power button LED
. See
Figure 5.
- If it is off, go to the next step.
- If it is flashing, the CEC enclosure is still in the power-off state. DO NOT CONTINUE. Ensure that you have unplugged the power cables.
Figure 5. Control panel LEDs 
-
Disconnect all remaining cables from the rear of the CEC enclosure. See Table 1 and Figure 6.
Table 1. CEC enclosure cable connections Connection Description P1-C2-T1, P1-C2-T2 PCIe to I/O enclosures (if C2 present) P1-C3-T1, P1-C3-T2 PCIe to I/O enclosures (if C3 present) P1-C5-T4 (HMC port 1) FSP Ethernet P1-C5-T5 (HMC port 2) FSP Ethernet P1-C6-T1, P1-C6-T2 i2c to RPCs P1-C7-T1, P1-C7-T2 RS485 to RPCs P1-C8-T1, P1-C8-T2 PCIe to I/O enclosures P1-C10-T1, P1-C10-T2 PCIe to I/O enclosures P1-C11-T1, P1-C11-T2 LPAR Ethernet P1-C11-T3, P1-C11-T4 Customer network (optional feature, if used) P1-C12-T1, P1-C12-T2
P1-C12-T3, P1-C12-T4Customer network (optional feature, if used) Figure 6. CEC enclosure location codes (rear view) (Model 982)
-
Remove the front cover.
CAUTION:A hot surface nearby.

- Ensure that you have the electrostatic discharge (ESD) wrist strap attached. If not, attach it now.
-
Place your fingers on the indentations and pull the latches
located on both sides of the cover.
-
Pull the cover
away from the system.
Figure 7. Removing the front cover 
-
Place the CEC enclosure into the service position.
Note:
- When placing the enclosure into the service position, ensure that all stability plates are firmly in position to prevent the rack from toppling.
- Ensure that only one enclosure is in the service position at a time.
- Ensure that the cables at the rear of the system unit do not catch or bind as you pull the system unit forward in the rack.
- When the rails are fully extended, the rail safety latches lock into place. This action prevents the system from being pulled out too far.
- Remove the shipping screws, if they are not removed already.
-
Release the side latches
by pressing them downward and then
outward as shown in Figure 8.
-
Slide out the system unit
from the rack.
Figure 8. Placing the enclosure in service position 
-
Remove the service access cover.
- Ensure that you have the electrostatic discharge (ESD) wrist strap attached. If not, attach it now.
-
Push the release latches
in the direction shown.
-
Slide the cover
off the system unit. When the front of the
service access cover has cleared the upper frame ledge, lift the cover up and off the system
unit.
Figure 9. Removing the service access cover 
-
Remove the safety cover.
- Ensure that you have the electrostatic discharge (ESD) wrist strap attached. If not, attach it now.
-
Loosen the thumbscrew
located at the rear of the cover, by
turning it in the direction shown in Figure 10.
-
Slide the safety cover
toward the rear of the system. When the
front of the cover has cleared the upper frame ledge, lift the cover up and off the system.
Figure 10. Removing the safety cover 
Removing the CEC enclosure system backplane
About this task
To remove the CEC enclosure system backplane, complete the following steps:
Procedure
- Ensure that you have the electrostatic discharge (ESD) wrist strap attached. If not, attach it now.
-
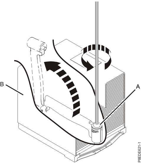
Label and remove all of the front fans.
-
Rotate the fan handle
in the direction that is shown in Figure 11 to unlock the fan from its slot.
- Hold on to the fan handle and by using your hand to support the bottom of the fan, pull out the fan from its slot.
- Place the fan on the ESD mat.
- Repeat step 2 for the remaining front fans.
Figure 11. Removing the front fan 
-
Rotate the fan handle
- Assemble the supplied system backplane support stand. Refer to the assembly instructions that were shipped with this FRU. The system backplane that is removed must be placed on the support stand to protect its electrical connectors.
-
Remove the system backplane.

-
Loosen, but do not remove the four captive screws
by using a 4
mm Allen wrench. See Figure 12.
Figure 12. Unscrewing the system backplane 
-
Raise the system backplane handles
on the sides of the backplane
as shown in Figure 13.
-
Unscrew the two thumbscrews
and rotate the brackets up 45
degrees.
Figure 13. Preparing the system backplane for removal 
-
Grasp the handles and lift the system backplane out of the system as shown in Figure 14.
Figure 14. Lifting the system backplane out of the system 
- Place the system backplane on the support stand to keep the connectors on the bottom of the backplane suspended off the ESD mat.
-
Loosen, but do not remove the four captive screws
Replacing the CEC enclosure system backplane
About this task
To replace the CEC enclosure system backplane, complete the following steps:
Procedure
- Ensure that you have the electrostatic discharge (ESD) wrist strap attached. If not, attach it now.
-
Replace the backplane into the system.
Attention: Carefully remove the replacement system backplane from the ESD bag it is shipped in. To lift the FRU from the packaging, hold the sides of the system backplane. Do not lift the FRU from the packaging by holding the top or the bottom of the system backplane. Refer to the instructions that were shipped with this FRU.
-
Lower the system backplane into the system by using the handles on the side of the backplane as
shown in Figure 15.
Figure 15. Replacing the system backplane 
-
Lower the handles
. See Figure 16.
-
Lower the hinged brackets
and tighten the thumbscrews.
Figure 16. Replacing the system backplane 
-
Tighten the four captive screws
of the system backplane by using
a 4 mm Allen wrench. See Figure 17.
Figure 17. Tightening the system backplane screws
-
Lower the system backplane into the system by using the handles on the side of the backplane as
shown in Figure 15.
-
Label and remove the processor heat sinks from the original system backplane.
Note: The processor heat sink must be replaced onto the same processor from which it was removed.
- Put on a pair of the supplied Nitrile gloves. You must wear Nitrile gloves (part number 00RY410) when you handle the system processor module, thermal interface material (TIM), and the heat sink.
-
Loosen the load arm screw
of the system processor heat sink
that you are removing with the supplied T-handle T20 Torx driver
(part number 00LR425). The load arm pivots up in the direction that is shown in Figure 18.
Figure 18. Loosening the load arm screw of the heat sink 
- Inspect the heat sink for any dust or debris on it. If you must remove dust or debris from the heat sink, it must be done in another room or greater than 25 feet (7.62 meters) away from the work area.
- Place heat sink upside down on the ESD mat.
-
Remove dust and debris from the system processor module area.
Note: If dust or debris is present, use the supplied air pump (part number 45D2645) to clean the system processor module area. Blow small bursts of air from the center toward the sides of the system processor module as shown in Figure 19.
- Repeat step 3 for the remaining heat sinks.
Figure 19. Cleaning the system processor module area 
-
Remove the system processor socket covers from the replacement system backplane.
- Grasp the socket cover tabs with the supplied cover removal tool (part number 00FX605). Squeeze the removal tool handles. Then, lift the cover straight up. See Figure 20.
- Repeat step 4 for the remaining covers.
Figure 20. Removing the system processor socket cover 
-
Replace the processor modules and heat sinks.
- Ensure that you are wearing a pair of the supplied Nitrile gloves. You must wear Nitrile gloves (part number 00RY410) when you handle the system processor module, thermal interface material (TIM), and heat sink.
-
Lower the supplied removal tool (part number 00FW771) onto the system processor module in the
original system backplane. The beveled corner
of the tool must align
with the beveled corner of the system processor module. Align the tabs
of the tool with the pins
of the
processor socket. See Figure 21.
Figure 21. Lowering the removal tool onto the system processor module 
-
Push down on the tool at the locations that are indicated by the arrows to lock the system
processor module into the removal tool. See Figure 22.
Do not press the blue release tabs until directed to do so later.
Note: The tool drops slightly when you push down so that the jaws can grab the bottom of the system processor module.
Figure 22. Locking the replacement system processor module in the removal tool 
-
Grasp the sides of the tool and system processor module and carefully lift it slightly out of
the original system backplane. Then, turn it over so that the system processor module side is up.
Ensure that both tool jaws
are firmly grabbing the system processor
module, as shown in Figure 23.
Note: If both jaws are not firmly grabbing the system processor module, press down on the corner of the system processor module closest to the jaw until it locks into place. Do not touch any part of the system processor module other than the corners.Figure 23. Ensuring that the system processor module is securely locked in tool 
-
Lower the tool and system processor module onto the socket in the replacement system backplane.
Ensure that the two guide pins are inserted into the alignment holes on each side of the tool, as
shown in Figure 24.
Note: Do not attempt to slide the tool and the system processor module in any direction while the system processor module is touching the socket. If the tool and the system processor module are not aligned with the guide pins, lift the tool and the system processor module and reposition them.
Figure 24. Lowering the system processor module onto the socket 
-
After the system processor module is properly aligned, squeeze and hold the two blue release
tabs
together until a firm stop is reached, as shown in Figure 25. Then, lift the tool off the system processor
module.
Figure 25. Removing the system processor module tool 
-
Inspect the thermal interface material (TIM) for visible signs of damage, as shown in Figure 26.
Note: When the heat sink is removed from the system processor module, the TIM should be adhered to the heat sink. Unless damaged, the TIM that is adhered to the heat sink can be reused. Replace the TIM if the TIM is damaged. Do not reuse the removed heat sink if the TIM is damaged. Either discard the heat sink and the damaged TIM locally or return them to IBM® based on part order-form part status. It is recommended that a spare TIM and heat sink, (part number 00LR426), be on hand before you replace the system processor module.
Figure 26. Inspecting the thermal interface material 
- Are you replacing the TIM or heat sink?
- If the TIM or heat sink must be replaced, order TIM and heat sink, (part number 00LR426).
- Open the TIM packaging and carefully remove the TIM, holding it by the edges of the carrier strip and holding it away from the shipping container.
-
Remove the protective film from the clear carrier strip by using the supplied tweezers, part
number 15R8943.
Note: The TIM must remain flat. Small wrinkles are acceptable, but folds are not acceptable.
-
Align one of the two 45-degree chamfers of the TIM with the processor module chamfer
as shown in Figure 27.
Note: The red stripe on the TIM must be facing up. -
Center the TIM onto the processor module.
Figure 27. Replacing the thermal interface material 
- Clean the heat sink bottom surface with the lint-free cloth that is supplied in the glove kit.
-
Replace the heat sink onto its original processor. Lower the heat sink over the system
processor module, ensuring that the holes in the heat sink
align with
the two guide pins
on the socket, as shown in Figure 28.
Figure 28. Replacing the heat sink 
-
Move the load arm into position over the heat sink and tighten the load arm screw
with the supplied T-handle T20 Torx driver part number 00LR425, as
shown in Figure 29.
Note: Do not overtighten the load arm screw.Figure 29. Tightening the load arm screw 
- Repeat step 5 for the remaining system processors and heat sinks.
-
Replace the memory.
- Label and remove the memory from the original system backplane.
-
To unlock the memory from its connector in the slot, push the locking tabs
in the direction that is shown in Figure 30.
-
The lever action of the tabs forces the memory out of the connector. Hold the memory by the
edges and pull it out of the system.
Figure 30. Removing memory from the system 
- Replace the memory into the replacement system backplane.
-
Grasp the memory along its edges and align it with the slot.
Attention: Memory is keyed to prevent it from being installed incorrectly. Note the location of the key tab within the memory connector before you attempt to install the memory.
-
Press the memory firmly into the slot until the locking tab
locks in place. See Figure 31.
Figure 31. Replacing memory 
- Repeat step 6 for the remaining memory.
-
Replace the processor voltage regulator modules (VRM).
- Label and remove the processor voltage regulator modules from the original system backplane.
-
Pull the connector tabs
up and then out, as shown in Figure 32.
-
Pull the processor voltage regulator module out of the connector.
Figure 32. Removing the processor voltage regulator module 
- Replace the voltage regulator modules into the replacement system backplane.
-
Ensure that the connector tabs
are pushed out to the unlocked
position, as shown in Figure 33.
- Carefully grasp the processor voltage regulator module along the edges and align it with the connector.
- Insert the processor voltage regulator module into the connector.
-
Secure the processor voltage regulator module by pushing in the connector tabs
until it is secured to the system's chassis, as shown in Figure 33.
Figure 33. Installing the processor voltage regulator module 
- Repeat step 7 for the remaining processor voltage regulators.
-
Replace the memory voltage regulator modules if present.
- Label and remove the memory voltage regulator modules from the original system backplane.
-
Pull out the memory voltage regulator modules from the slots by holding the blue tabs
and by supporting the bottom of the cards, as shown in Figure 34.
Figure 34. Removing the memory voltage regulator module 
- Replace the memory voltage regulator modules into the replacement system backplane.
- Place the memory voltage regulator modules into the connectors of the system backplane, as shown in Figure 35.
-
Press down the memory voltage regulator modules till they are firmly in place.
Note: While replacing the memory voltage regulator module, ensure that the green tab
is on the side of the VRM that is closest to the front of the system.
This check ensures that the orientation of the VRM in the system is correct.Figure 35. Installing the memory voltage regulator modules 
-
Replace the front fans into their original positions.
-
Ensure that the fan handle
is rotated open as shown in Figure 36.
- Using your hand to support the bottom of the fan, align the fan with the fan slot and slide it into the system.
-
Rotate the fan handle
in the direction that is shown and then
press the fan handle until the latch locks in place. See Figure 36.
- Repeat step 9 for the remaining front fans.
Figure 36. Replacing the front fan 
-
Ensure that the fan handle
Preparing the CEC enclosure for operation after removing and replacing the system backplane
About this task
To prepare the system for operation, complete the following steps:
Procedure
- Ensure that you have the electrostatic discharge (ESD) wrist strap attached. If not, attach it now.
-
Replace the safety cover.
-
Push the safety cover
toward the chassis.
-
Tighten the thumbscrew
by turning it in the direction shown in
Figure 37 to fix the safety cover to the
chassis.
Figure 37. Replacing the safety cover 
-
Push the safety cover
-
Replace the service access cover.
-
Slide the cover
onto the system unit.
-
Close the release latches
by pushing them in the direction
shown.
Figure 38. Installing the service access cover 
-
Slide the cover
-
Place the CEC enclosure into the operating position.
CAUTION:

Pinch hazard.
- Ensure that you have the electrostatic discharge (ESD) wrist strap attached. If not, attach it now.
-
Unlock the blue rail safety latches
by
lifting them upward.
-
Push the system unit
back into the rack until both system unit release latches lock into
position.
Note: Slide the system unit slowly into the rack to ensure that your fingers do not get caught in the side rails. - Secure the enclosure to the rack with screws, if screws were removed when preparing the enclosure for service.
Figure 39. Placing the CEC enclosure into the operating position 
-
Replace the front cover.
- Ensure that you have the electrostatic discharge (ESD) wrist strap attached. If not, attach it now.
-
Position the cover
on the front of the system unit so that the
four pins
on the system match the four holes at the rear of the
cover.
-
Press the tabs
to snap the cover into position.
Figure 40. Installing the front cover 
- Attach the electrostatic discharge (ESD) wrist strap.
-
Reconnect all cables, except for power cords. See Table 2 and Figure 41.
If optical Ethernet connections are used, use proper cleaning procedures.Important: The optical cable plugs (LC connectors) and ports (SFPs) must be cleaned before connecting them. Use cleaning tool 54Y4392 or IBM-approved alternative. After cleaning SFPs with the tool, use air bulb 45D2645 or IBM-approved alternative. For detailed procedures, refer to current DS8000 Info Alerts or contact your next level of support.
Table 2. CEC enclosure cable connections Connection Description P1-C2-T1, P1-C2-T2 PCIe to I/O enclosures (if C2 present) P1-C3-T1, P1-C3-T2 PCIe to I/O enclosures (if C3 present) P1-C5-T4 (HMC port 1) FSP Ethernet P1-C5-T5 (HMC port 2) FSP Ethernet P1-C6-T1, P1-C6-T2 i2c to RPCs P1-C7-T1, P1-C7-T2 RS485 to RPCs P1-C8-T1, P1-C8-T2 PCIe to I/O enclosures P1-C10-T1, P1-C10-T2 PCIe to I/O enclosures P1-C11-T1, P1-C11-T2 LPAR Ethernet P1-C11-T3, P1-C11-T4 Customer network (optional feature, if used) P1-C12-T1, P1-C12-T2
P1-C12-T3, P1-C12-T4Customer network (optional feature, if used) Figure 41. CEC enclosure location codes (rear view) (Models 982, 988) 
-
Reconnect the power cords
to the
CEC enclosure. See Figure 42.
-
Fasten the power cords to the enclosure using the hook-and-loop fasteners
.
Figure 42. Connecting the power cords 
-
Verify that the CEC enclosure has power available. See Figure 43.
- At the rear of the CEC enclosure, view the CEC enclosure power supply DC LEDs.
-
Are all DC (output) LEDs flashing?
- Yes, continue with the next step.
- No, ensure the power cords are properly connected. If no connection problem is found, contact your next level of support.
Figure 43. Location of the power supplies and LEDs (Model 982, 988) 
-
Wait up to 5 minutes for the CEC enclosure control panel power-button LED
to flash.
See Figure 44.
Note: This ensures the CEC enclosure is in the power-off state.Is the power-button LED flashing?
- Yes, go to the next step.
- No, ensure the CEC enclosure power supplies are fully seated. The possible failing FRUs are the CEC enclosure system backplane, I2C interface card and cables, and control panel. You can also call the next level of support.
Figure 44. Control panel LEDs 
- Close the rear door of the rack.
- Exit this service information center parts exchange procedure and return to the procedure that sent you here.