Exchange the I/O enclosure (2U) power supply

About this task

Icon for electrostatic discharge wrist strapUse approved ESD procedures to prevent damage.

Attention:
  • This procedure is not a stand-alone procedure. Customer disruption and damage to the hardware might occur when microcode and power boundaries are not in the proper conditions for this service action.
  • If a serviceable event FRU repair directed you to this procedure, the microcode and power boundaries are already set.
  • If a serviceable event FRU repair did not direct you to this procedure, see MAP1230 Replace a FRU without using a serviceable event.
Notes:
  • All the cables and FRUs to be removed must be uniquely identified so they can be reinstalled correctly.
  • If an installed earthquake resistance kit prevents you from accessing this FRU, refer to MAP1600.

Remove the I/O enclosure (2U) power supply

Procedure

  1. To locate this FRU, take one of the following actions and then return here and continue to replace the FRU:
    • If this FRU has a FRU identify indicator, use the FRU identify indicator, which is listed in MAP1240 Locating FRUs by using identify indicators. If not, use the location code.
      Note: There might be cases where the FRU failure or fencing conditions prevent the FRU LED indicator from being lit even if the FRU has power.
    • Use the location code, which is listed in MAP1245 Finding FRUs by using location codes.
    • If there is no FRU identify indicator or location code, you were sent here by an isolation MAP or symbolic FRU procedure. Use the information in that procedure and the figures in this procedure to locate the proper part to exchange.
  2. Most, but not all, FRUs have identify indicators. Use the flashing amber or solid blue FRU identify indicators to ensure that you are working on the correct enclosure or FRU.
  3. Ensure that the management enclosure power supply that is not being replaced is providing power.
    1. At the front of the rack, locate the power supply (E1 or E2) not being replaced. See Figure 1.
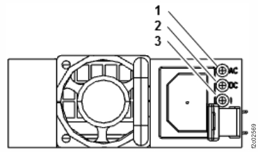
    2. Is the green DC LED indicator Callout label 2lit solid? See Figure 2.
      • Yes, go to the next step.
      • No, stop and call the next level of support. The redundant power supply is failing.
        Attention: Proceeding with this procedure removes all power to this enclosure and causes a loss of customer data access.
      Figure 1. I/O enclosure (2U) locations (front) (Model 983)
      I/O enclosure (2U) locations (front) (model 983)
      Figure 2. Management enclosure power supply LEDs
      Management enclosure power supply LEDs
  4. Remove the power supply hook-and-loop fastener and then unplug the power cable.
  5. Push the terracotta locking tab to the left (beneath the three LED indicators) and then remove the power supply.

Install the I/O enclosure (2U) power supply

Procedure

  1. Install the power supply.
  2. Connect the power cable and secure it with the hook-and-loop fastener.
  3. Exit this service information center parts exchange procedure and return to the procedure that sent you here.